W promocji
Simpson Strong-Tie złącze krokwiowe SPF210L
Kod producenta
5701953004040
Kod produktu
SPF210L
Złącza krokwiowo-płatwiowe SPF są przeznaczone do połączenia krzyżowego elementów drewnianych. Zadaniem złączy krokwiowo - płatwiowych w tym połączeniu jest zabezpieczenie dachu przed poderwaniem przez wiatr.
Cechy produktu:
- materiał: stal S250GD
- ochrona antykorozyjna: ocynk
- prosty montaż
- optymalny układ otworów ogranicza rozwarstwienie drewna
- mocne i trwałe połączenia
- obliczone statycznie
- wskazany centralny punkt połączenie złącza
- podłoże: drewno lite, drewno kompozytowe, drewno klejone warstwowo
- zastosowanie:
- w zależności od obciążenia stosuje się 2 lub 4 złącza
- w przypadku połączenia przy zastosowaniu 2 złączy należy użyć 2 lewych lub 2 prawych złączy, gdyż są one umieszczone diagonalnie naprzeciw siebie, w celu zapewnienia centralnego rozłożenia obciążenia
- w połączeniach krokwi z murłatą może zajść konieczność użycia złączy o dwóch różnych długościach – krótszego montowanego od zewnętrznej strony murłaty i dłuższego od strony wewnętrznej
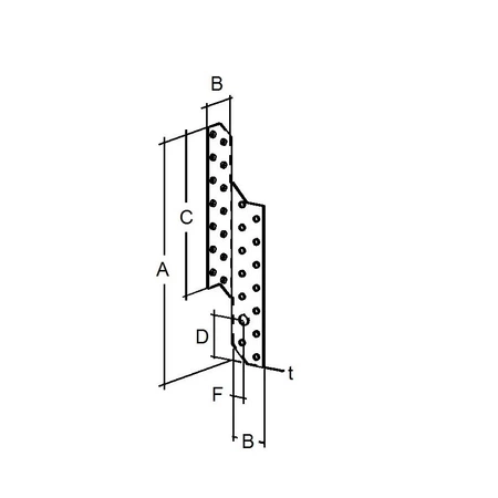
Dane techniczne:
- wymiar A: 210 mm
- wymiar B: 32,5 mm
- wymiar C: 140 mm
- wymiar D: 37,5 mm
- wymiar F: 14 mm
- wymiar t: 2 mm
Marka
Kod produktu
SPF210L
Kod producenta
5701953004040
Parametry bezpieczeństwa
Parametry bezpieczeństwa
Zapytaj o produkt
Napisz swoją opinię




