W promocji
Fanar narzynka HSS M22 6g 800 N1-121001-0220
Kod producenta
5900920247484
Kod produktu
1210010220
Cechy produktu:
- materiał: HSS
- zastosowanie: stale i staliwa, materiały nieżelazne
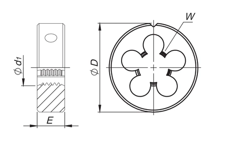
Dane techniczne:
- kierunek gwintu: RH
- rozmiar gwintu: M22
- wymiar P: 2,5
- tolerancja średnicy podziałowej: 6g
- wymiar D x E: 55 x 22 mm
- ilość ostrzy: 5
- średnica pręta gwintowanego: 21,79 mm
Marka
Kod produktu
1210010220
Kod producenta
5900920247484
Parametry bezpieczeństwa
Parametry bezpieczeństwa
Zapytaj o produkt
Napisz swoją opinię




